优惠券

首页 LINK PAY收银系统SAAS版-使用教程 营销中心 优惠券

优惠券


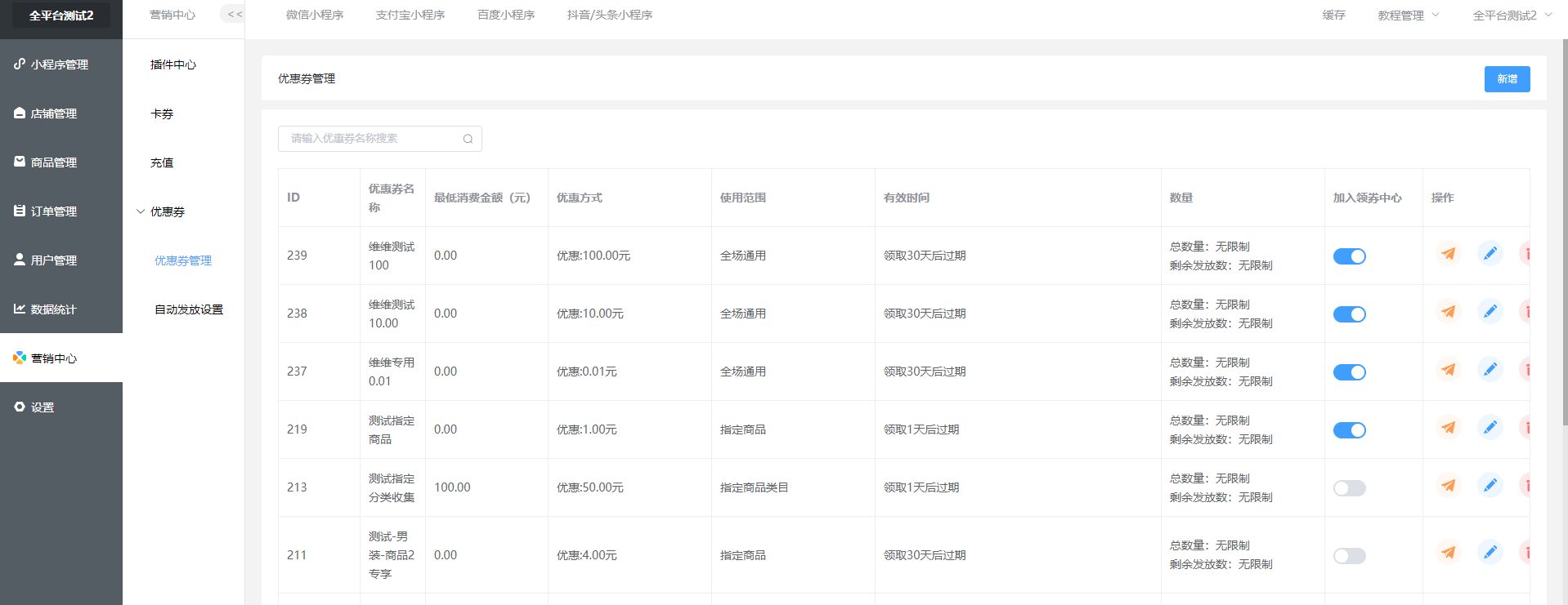
优惠券管理

用处: 可以结合首页布局使用(添加领券中心),也可以单独发送给买家、也可以会员独享。

  • 注:优惠券只能抵消商品金额,不能抵消运费,商品金额优惠到0元

添加优惠券-基础设置

  • 支持指定商品类别使用

  • 支持指定商品使用

  • 支持全场通用

添加优惠券-领取方式设置

  • 方式一:会员专享

  • 支持指定会员等级专享,也可以选择全部会员专享

  • 方式二:领券中心

  • 勾选则加入领券中心,在小程序端-领券中心显示(若,小程序端没有显示是因为没有到“小程序管理”—>“首页布局”—>“添加领券中心”)

小程序端演示


发放优惠券


自动发放设置

用处: 到达条件,可以自动发放优惠券。

添加自动发放方案

  • 选择触发事件和发放的优惠券

  • 分享


  • 购买并付款

小程序端演示


  • 新人领券(新人第一次进入商城领的券)


666    2023-07-18 01:14:35   
下一篇